过去苹果曾经爆出智能手机“弯曲门”质量事故,不过如今,一个专利显示苹果未来有可能推出可弯曲手机。

据美国科技新闻网站Recode报道,本周二,美国专利商标局向苹果授予了一项专利,该专利技术将成为未来开发可弯曲智能手机的基础。
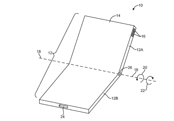
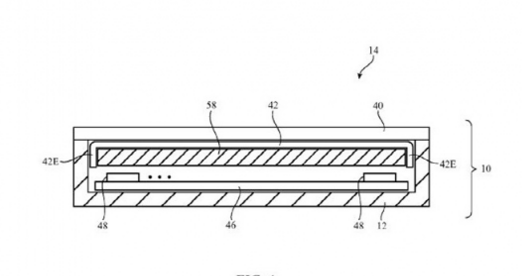
这一专利的申请时间是2014年7月。根据专利文件,苹果将会使用可弯曲的OLED(有机发光二极管)屏幕,这一屏幕可以折叠成一半的大小,其外观让人联想到多年前市面上流行的翻盖手机。

在专利文件中,苹果详细描述了可弯曲屏幕和可弯曲手机的工作原理,不过需要指出的是,苹果被授予一项专利并不意味着苹果一定会开发出基于这种专利技术的产品和服务。
迄今为止,苹果在智能手机中主要使用液晶屏幕。行业传言称,明年是苹果进入智能手机市场十周年,该公司计划推出一款重大升级内容的新手机,其中的一个版本,将在公司历史上次使用OLED屏幕。

外媒认为,一部可以折叠成一半大小的智能手机要真正投向市场,可能还需要很多年时间。之前,韩国LG以及三星电子等公司曾经推出广告,宣传可弯曲显示屏等产品,但是这些产品虽然有圆弧边框设计,看上去却给人以“僵硬”的质感。可折叠iPhone问世,销量必定进一步激增。千锋汇聚业内具责任心,懂学科、技术过硬,有大型项目经验实战派讲师授课,来自清华、外企等世界500强IT企业,带领学员登顶iOS全栈工程师。
学员姓名:丁同学
入职单位:保密
入职月薪:13000
时间:2017.10.25
学员姓名:丛同学
入职单位:**有限公司
入职月薪:11000
时间:2017.10.30
学员姓名:李同学
入职单位:保密
入职月薪:12000
时间:2017.10.30
学员姓名:徐同学
入职单位:枭*科技
入职月薪:11000
时间:2016.05.26
学员姓名:潘同学
入职单位:酷*互动
入职月薪:13000
时间:2016.05.20
学员姓名:张同学
入职单位:斑*实业
入职月薪:14000
时间:2015.12.08
学员姓名:黄同学
入职单位:福*中金
入职月薪:12000
时间:2015.12.07
学员姓名:韩同学
入职单位:宽*是风
入职月薪:17000
时间:2015.09.17
学员姓名:郑同学
入职单位:腾*众创
入职月薪:16500
时间:2015.11.02
学员姓名:钱同学
入职单位:数*科技
入职月薪:16000
时间:2015.11.04
了解千锋动态
关注千锋教育服务号
扫码匿名提建议
直达CEO信箱